給我一份龍頭設計圖紙模板(龍頭設計圖紙模板)
以下是關于龍頭設計圖紙模板的綜合信息,結合工業設計標準和實際應用案例:


























展開
















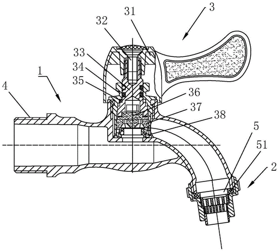
一、基礎結構設計
- 閥芯組件:包含閥桿、閥芯和壓蓋,通過把手控制閥芯位移實現水流開關。
- 密封系統:采用填料結構防止漏水,需標注壓蓋與閥桿的配合公差。


























展開二、CAD制圖要點
- 零件圖紙:需包含8個獨立零件圖,如閥體、把手、連接件等,標注尺寸公差和表面處理要求。
- 裝配圖:需體現閥芯與閥桿的聯動關系,建議使用爆炸視圖展示分解結構。
















推薦閱讀:
文章版權聲明:本站文章來之全網,如有雷同請聯系站長微信xlyc002 ,轉載或復制請以超鏈接形式并注明出處。

發表評論